Zavřít reklamu

Společnost Samsung již nějaký ten pátek pracuje na několika prototypů chytrých telefonů s flexibilními a skládacími displeji. Firma dokonce podala už několik patentů týkající se takového zařízení.

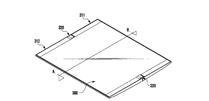
Patentová přihláška, který byla podána s americkými PTO  značkami, byla podána 9. června roku 2015 pod číslem USA 9557771 B2. Zde je detailně popsáno, jak by takové zařízení, disponující skládacím displejem a s podporou mechanických kloubů uprostřed, mohlo ve skutečnosti vypadat. Podle patentu je zřejmé, že Samsung plánuje vyrobit takový flexibilní zobrazovací panel, který by se skládat dovnitř zařízení.

Samsung

Nicméně, Samsung a dokonce i LG pracují na chytrých telefonech, tabletech a hybridních zařízeních se skládacími displeji již několik let. Ovšem zdá se, že jihokorejský výrobce je oproti své konkurenci o několik kroků napřed, neboť se příchod jednoho takového telefonu očekává už ve třetím čtvrtletí roku 2017.

Zdroj

Dnes nejčtenější

.