Zavřít reklamu

Jihokorejský výrobce rozhodně nehodlá být pozadu a tak si připravil zcela nový patent. Ten odhaluje hned dvojici fotoaparátů, samozřejmě na zadní straně telefonu. Zajímavostí však je, že patent byl podán již v březnu loňského roku. Z toho tedy vyplývá, že bychom se duálního fotoaparátu mohli dočkat už u Galaxy S8.

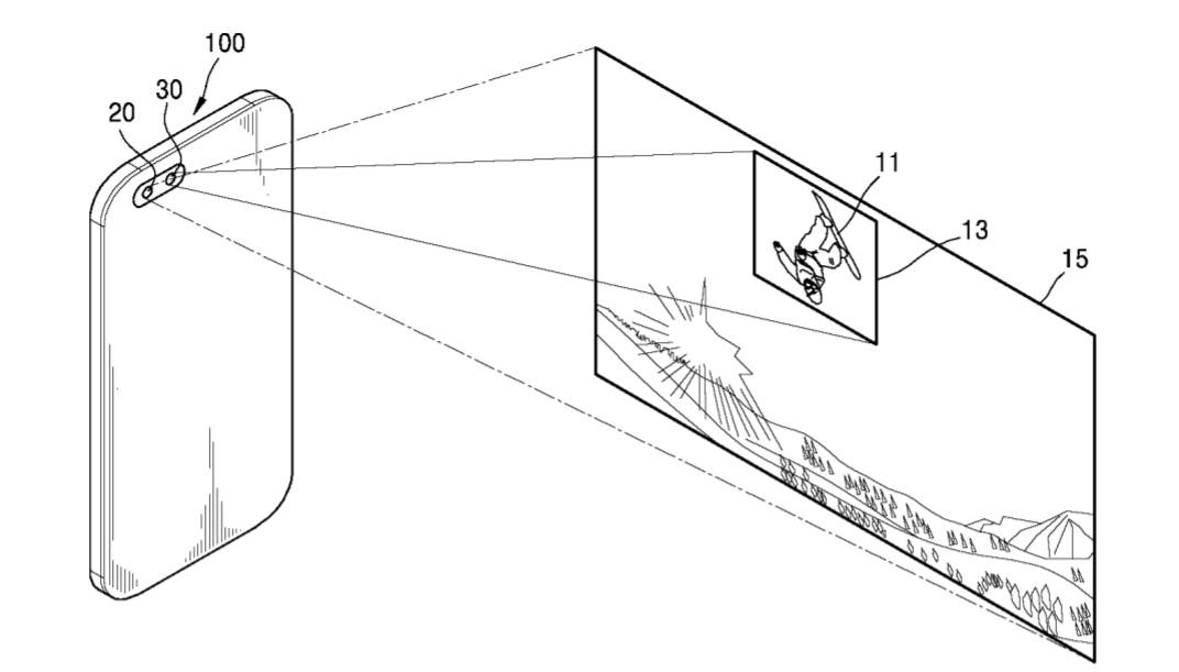
Celý patent nese název „Digital Photographing Apparatus and Method of Operating the Same“ a poodhaluje dvojici fotoaparátů. Jedna z kamer je širokoúhlá, zatímco druhá je ve formě teleobjektivu pro zachycení pohybující se scény.

Například, pokud chcete vyfotit pouliční scénu a cyklista vám projede záběrem, teleobjektiv by ho měl teoreticky s velkou ostrostí zachytit. Technologii lze aplikovat i pro natáčení videí, kdy teleobjektiv sleduje pohybující se objekty v reálném čase, a to aniž by jej musel uživatel ručně zaostřovat.

Velmi zajímavý je také algoritmus, který rozhoduje, jakou čočkou bude vlastně snímek pořízen. Jestliže je rychlost snímaného objektu vyšší, než stanovená rychlost, bude procesor upřednostňovat spíše širokoúhlou čočku. Ovšem pokud bude rychlost pomalejší, sáhne procesor po teleobjektivu. Nevíme jistě, zda tento patent vůbec někdy Samsung použije. Každopádně za kus pozornosti rozhodně stojí.

aa-samsung-dual-lens-camera-patent-wide-angle-telephoto-25
aa-samsung-dual-lens-camera-patent-wide-angle-telephoto

Zdroj: AndroidAuthority

Dnes nejčtenější

.